您当前的位置:液压与气动专题教程《液压与气压传动》教案  
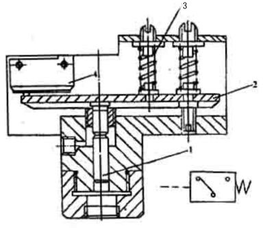
   ●压力继电器的结构与工作原理
      
             图7-11压力继电器
        1-柱塞  2-杠杆  3-弹簧   4-开关
  压力继电器是一种将油液的压力信号转换成电信号的电液控制元件,改变弹簧3的压缩量即可以调节压力继电器的动作压力。
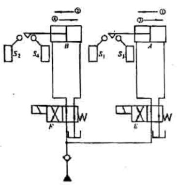
   ▲压力继电器控制的顺序动作回路:
      
   ▲行程控制的顺序动作回路:
     
   回路的优点:控制灵活方便.可靠程度主要取决于电器元件的质量.
   采用机动换向阀与机械挡块亦能实现行程顺序回路.
   ▲卸荷回路
  卸荷回路:在液压泵驱动电动机不频繁启闭的情况下,使液压泵在功率损耗接近零的情况下运转,以减少功率损耗,降低系统发热,延长泵和电动机的寿命。
  流量卸荷:变量泵。
  压力卸荷:使泵在接近零压力下运转。
  换向阀卸荷回路:
     
  M、H和K型中位机能.
  回路中必须设置单向阀:以使系统能保持0.3MPa左右的压力,供操纵控制油路之用.
先导式溢流阀卸荷的卸荷回路。
  双泵供油的卸荷回路:
      
   小流泵以溢流阀调定值向系统供油.液控顺序阀则按轻载时所需压力进行调节。
用二位二通阀的卸荷回路。
   ▲平衡回路
  平衡回路:为了防止立式液压缸及其工作部件在悬空停止期间因自重而自行下滑,或在下行运动中由于自重而造成失控超速的不稳定运动。
  单向顺序阀的平衡回路:
         
  调整平衡阀的开启压力,使其稍大于立式液压缸活塞与工作部件重力形成的下腔背压力,即可防止活塞因重力而下滑。
   液控单向阀的平衡回路:
      
共 3 页: 第  【1】  【2】  3  页
版权所有        民众工作室.制作