您当前的位置:液压与气动专题教程《液压与气压传动》教案  
    ●液压缸主要尺寸计算
  液压缸内径计算:
  根据负载大小和选定 的系统压力计算确定:
     
  根据液压缸的输出速度和所选定的系统流量计算确定:
        
  活塞杆直径计算:
       
  液压缸长度:由最大行程决定。
  液压缸的壁厚:根据结构设计确定。但在工作压力较高或缸径较大时必须进行强度验算。
   ●液压缸的结构
  缸筒和缸盖
  活塞和活塞杆
  密封装置
  缓冲装置
  排气装置
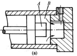
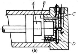
  单杆活塞式液压缸的结构:
   
  缸筒和缸盖的连接:
     
  活塞和活塞杆的连接形式:
    
  缓冲装置:
  当活塞快速运动到接近缸盖时,增大排油阻力,使液压缸的排油腔产生足够的缓冲压力,使活塞减速,从而避免与缸盖快速相撞.
 
  排气装置
:
    
共 3 页: 第  【1】  【2】  3  页
版权所有        民众工作室.制作